Masih Ingat catatan EA’s Blog soal artikel Motor Legendaris Honda layaknya VFR750R (RC30), VFR400R (NC30) & RVF400R (NC45) ?? Apa garis besar kesimpulan dari jajaran superbike Honda di medio 90’an ??? Yap… Superbike Honda saat itu sangat superior dengan mesin V-4 90 derajat nya yang fantastis !!!
Lantas apa yang terjadi pada Superbike Honda di era Modern ini yang justru mengusung mesin Inline-4 Silinder ??
Sejak diperkenalkan tahun 2004 silam sebagai pengganti dari CBR954RR, Tercatat tak ada perubahan yang signifikan di sektor mesin Honda CBR1000RR Fireblade. . . Mesin nya tetap menggunakan konfigurasi 4 Silinder sejajar dengan kubikasi 1000 cc. . . Meskipun sebenarnya rumor yang menyebutkan tahun 2004 silam, Honda juga akan mengembangkan kembali mesin V-4 nya yang kemudian disambut sangat meriah oleh konsumen di luar negeri sana. . . . Namun hingga saat ini tak ada tanda-tanda CBR Fireblade akan menuju kesana. . . Padahal bila kita intip Jagoan MotoGP Honda yakni RC213v, Mesinnya sudah menganut Konfigurasi V-4 plus teknologi fantastis nan misterius. . .
Sebuah pertanda akan hadirnya Mesin V-4 di CBR Fireblade juga pernah membahana di tahun 2012 silam, Apalagi saat diketahui Honda juga sedang mengembangkan Spek-Down dari mesin V-4 RC213v yang saat ini kita kenal dengan RCV1000R. . . Namun Konsumen pun kembali kecewa saat baru-baru ini Honda justru memperkenalkan CBR1000RR SP, Yang tak lain hanyalah versi Modifikasi dari CBR1000RR Standard. . .
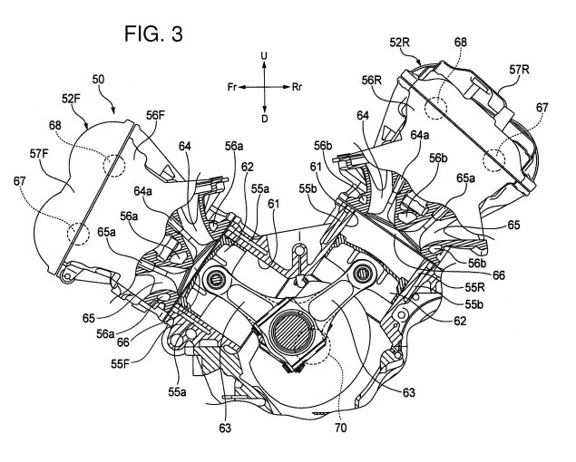
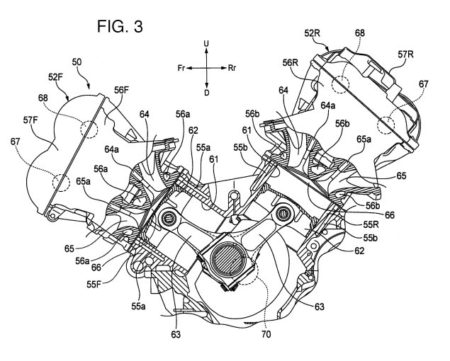
Namun kini rumor tersebut mulai menyeruak kembali, Bahkan kali ini lebih fantastis dibanding sebelumnya. . . Berkat sketsa patent yang diduga adalah milik Next Fireblade, Sebuah fakta mengejutkan mulai terungkap. . . Dari sketsa tadi kita bisa melihat identiknya rumor mesin tersebut dengan mesin VFR/RVF750R yang pernah hadir berpuluh-puluh tahun silam namun dengan perbedaan di sisi pendinginan yang lebih advanced (Intinya : Ngapain riset mesin baru mahal-mahal, kalau sudah punya base mesin jadul yang powerfull, fantastis dan disukai konsumen) . . . Tak tanggung-tanggung, Menurut pemberitaan dari web luar negeri, Power CBR1000 V4 ini diperkirakan mencapai lebih dari 200 HP. . . . Waoww, Nyuss !!
Sketsa Patent CBR1000RR V4
Mesin Honda VFR750R (RC30)
Lebih jauh lagi, Sepertinya sangat masuk akal sih apabila nantinya Honda akan membuat Mesin 1000 cc Turunan balap di produk massal nya, Mengingat kini ada RCV1000R yang jauh lebih mendekati ke spek motor jalanan dibanding RC213v (RC213v mah ampun deh, Masih banyak misterinya, Ahli mesin & metalurgi pasti ngerti lah maksud EA’s Blog) . . . Jadi nanti urutannya menjadi RC213V >> RCV1000R >> CBR1000RR V4 >> CBR1000RR. . . Loh koq CBR nya ada dua ? Iya Brosist, Rumornya Honda tetap akan memproduksi CBR Inline-4, Karena bisa dipastikan Harga CBR1000 V4 akan berada di atas harga CBR Inline-4. . .
CBR1000RR V4, Apa Pendapatmu Brosist ??







VERZAMAX….
https://masdaniblog.wordpress.com/2014/05/04/ketika-kawasaki-disangka-minerva-oleh-tukang-cuci-motor/
Makjosss . . . . 😀
Mongtor impiankuh.. Hehehe
http://warungasep.wordpress.com/2014/05/04/✪-ngobras-ngobrol-bareng-di-warungasep-bersama-mantan-tentara-✪/
Samaaaaa. . . . 😛
juosss mang EA moge terus sharingnya…
Siang semua…
http://kobayogas.com/2014/05/04/skutik-saja-ada-pass-beamnya-apalagi-sport-dong/
Bari ngadoa ngarah bisa kabeuli fireblade. . . :mrgren:
Wah joss, motor sport V4 Honda memang perlu dimunculkan lagi.
http://prasetyo676.wordpress.com/
Bentull masbroo. . . . 😀
ane sih cbr 600 ajah 😀
CBR600 juga udah bengisss. . . 😀
fbh tulen 😀
Gening FBH
Motor impian nih fireblade……kapan bisa masuk garasi rumah lumayan buat ngebleyer Ninja yg alay 😀
Fireblade V4 kek gimana ya konstruksinya……cz fireblade kan mesinnya kompak kalo di diganti v4 kira2 handling berubah gk ya??tapi karakternya pasti berubah yang tadinya user friendly jadi agresif…
Kan rumornya nantinya dijual 2 versi broo. . . Jelas yang V4 pasti bakal jauh lebih compact lagi, *Padahal yang Inline 4 udah slim banget yaa. . . *ga kebayang kalo dijejelin V4. . . heheheheeee 😀
coba bahas RG 125 deh terus coba di kompare ama Ninja 250 dan CBR 250.
🙂
RG berarti lawan comparenya NSR125SP RC-Valve & TZR125 YPVS massbro. . . 😀
biar rada panas aja gitu…
Wakakakak 😀
Mudah2an mampu kebeli pas cbr 1k V4 nya keluar 🙂
mungkin 2020 😀
ôtô
Honda CBR1000RR V4 Engine | EA’s Blog | ENOANDERSON.COM
dien dan oto xe may
Honda CBR1000RR V4 Engine | EA’s Blog | ENOANDERSON.COM
saingannya Kawasaki H2 😀